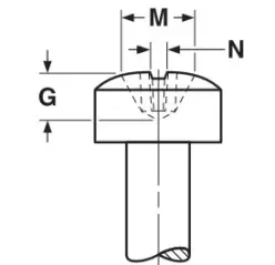
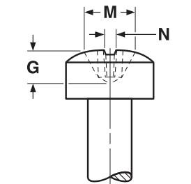
Machine Screw, Phillips Fillister Head, Stainless 18 8 (Inch)

For repeat and volume customers, please call or request a quote.